找回密码
 立即注册
澳门威尼斯人
U8
U18
海燕招商
A
蓝盾
e世博
islot.
申博亚洲
澳门银河
B
腾博会
德信
C级广告商
吉祥坊
查看: 2069|回复: 60

[彩票] 赛车彩票天天这么顺就好了五分钟收获成功

[复制链接]

88

主题

2838

回帖

1182

金币

铜牌用户

积分
9709

老会员

发表于 2026-3-7 14:47 | 显示全部楼层 |阅读模式

马上注册,结交更多好友,享用更多功能,让你轻松玩转社区。

您需要 登录 才可以下载或查看,没有账号?立即注册

×
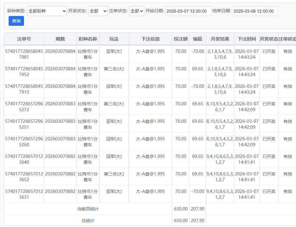
比特彩票赛车玩玩的多,今天异常的顺利呢5分钟左右拿下200多块钱收益进账。坚持策略打法总没错6 b6 j5 C; g  p- m! {) d, M
. a1 p, i* v& d2 [) E' T  Q& Z

- r. Z- i* U  f1 j; f" `' H 2.jpg 1.jpg - Y" N$ ~7 m( j, [7 }$ Q

评分

参与人数 1金币 +6 收起 理由
海燕RG + 6 实战分享

查看全部评分

回复

使用道具 举报

65

主题

6970

回帖

1551

金币

金牌会员

积分
23297

老会员光影行者

发表于 2026-3-7 15:58 | 显示全部楼层
彩票就是运气游戏,能顺顺利利就好,恭喜收米200多块钱。
回复 支持 反对

使用道具 举报

112

主题

7975

回帖

2535

金币

金牌会员

积分
20600

老会员

发表于 2026-3-7 16:37 | 显示全部楼层
收米迅速就不浪费时间了,这就很棒
回复 支持 反对

使用道具 举报

99

主题

2万

回帖

5222

金币

铂金用户

积分
88910

老会员交易勋章魅力达人

发表于 2026-3-7 17:33 | 显示全部楼层
五分钟就搞定两百多,这节奏简直起飞,看来策略到位了运气也跟着来
回复 支持 反对

使用道具 举报

619

主题

1万

回帖

4396

金币

千足金牌会员

积分
41768

老会员

发表于 2026-3-7 20:34 | 显示全部楼层
连续的盈利太强了,70块的玩法是绝了
回复 支持 反对

使用道具 举报

9

主题

2万

回帖

7127

金币

铂金用户

积分
86134

光影行者

发表于 2026-3-7 20:52 | 显示全部楼层
这次节奏确实顺,策略稳住的话小赢不难,但别飘,赛车彩变脸比赛道还快
回复 支持 反对

使用道具 举报

9

主题

2万

回帖

7127

金币

铂金用户

积分
86134

光影行者

发表于 2026-3-7 20:53 | 显示全部楼层
小策 发表于 2026-3-7 17:33: `4 y. u: P0 H
五分钟就搞定两百多,这节奏简直起飞,看来策略到位了运气也跟着来

) ~6 [2 ]! O2 D; L4 Q9 e4 o这波节奏确实带感,策略和运气双在线,五分钟两百多谁不眼红啊
回复 支持 反对

使用道具 举报

9

主题

2万

回帖

7127

金币

铂金用户

积分
86134

光影行者

发表于 2026-3-7 20:53 | 显示全部楼层
决战夕阳 发表于 2026-3-7 15:58; ]) ^4 a; W0 }' I* U
彩票就是运气游戏,能顺顺利利就好,恭喜收米200多块钱。

0 C, n+ ]! X  t# L2 q) T! E+ O运气爆棚的时候真爽,200块到手五分钟,这波节奏酸了
回复 支持 反对

使用道具 举报

880

主题

2万

回帖

1万

金币

铂金用户

积分
91779

老会员精华勋章魅力达人

发表于 2026-3-7 22:28 来自手机 | 显示全部楼层
你这策略打法非常不错,如果能天天都有这样的收益就太完美了。
回复 支持 反对

使用道具 举报

880

主题

2万

回帖

1万

金币

铂金用户

积分
91779

老会员精华勋章魅力达人

发表于 2026-3-7 22:29 来自手机 | 显示全部楼层
决战夕阳 发表于 2026-3-7 15:58
8 n8 Y; G$ f1 @) x- u$ `3 a彩票就是运气游戏,能顺顺利利就好,恭喜收米200多块钱。

3 e% i$ o! n! O! m; w. F) x彩票游戏虽然运气很重要,但有个好策略也是很关键的。
回复 支持 反对

使用道具 举报

880

主题

2万

回帖

1万

金币

铂金用户

积分
91779

老会员精华勋章魅力达人

发表于 2026-3-7 22:30 来自手机 | 显示全部楼层
蔬菜沙拉 发表于 2026-3-7 20:531 x  H: [7 h% o0 G" D5 _% X
这波节奏确实带感,策略和运气双在线,五分钟两百多谁不眼红啊

( h/ i, ^) E. z2 `" p6 \是比较让人羡慕不已的了,希望我们也有这样的成绩不。
回复 支持 反对

使用道具 举报

2695

主题

5万

回帖

5149

金币

钻石用户

积分
176970

万时之王老会员精华勋章勤奋勋章交易勋章

发表于 2026-3-7 23:39 来自手机 | 显示全部楼层
彩票赢了200多块钱,不错的
回复 支持 反对

使用道具 举报

2695

主题

5万

回帖

5149

金币

钻石用户

积分
176970

万时之王老会员精华勋章勤奋勋章交易勋章

发表于 2026-3-7 23:39 来自手机 | 显示全部楼层
linx1978 发表于 2026-3-7 22:30" p$ j! o, I1 r( x, G# V4 D
是比较让人羡慕不已的了,希望我们也有这样的成绩不。
! |4 F0 j* [( N% j' Z! w
盈利了200多块钱挺好的了,玩得很好,继续加油多多赢钱
回复 支持 反对

使用道具 举报

2695

主题

5万

回帖

5149

金币

钻石用户

积分
176970

万时之王老会员精华勋章勤奋勋章交易勋章

发表于 2026-3-7 23:40 来自手机 | 显示全部楼层
linx1978 发表于 2026-3-7 22:28
3 A% I) Q3 F0 B+ d" ~" f6 E你这策略打法非常不错,如果能天天都有这样的收益就太完美了。

! G1 W1 d2 K3 z) x  J. ~论坛有不少玩彩票相当厉害的高手
回复 支持 反对

使用道具 举报

2695

主题

5万

回帖

5149

金币

钻石用户

积分
176970

万时之王老会员精华勋章勤奋勋章交易勋章

发表于 2026-3-7 23:40 来自手机 | 显示全部楼层
小策 发表于 2026-3-7 17:33
. V9 n* B# a. M) f; y五分钟就搞定两百多,这节奏简直起飞,看来策略到位了运气也跟着来
- e" B6 \5 e( s8 }0 |; }# k
楼主玩彩票很有经验的了
回复 支持 反对

使用道具 举报

您需要登录后才可以回帖 登录 | 立即注册

本版积分规则

广告合作|福利汇|论坛简介|钱包教程|手机版|小黑屋|Archiver|海燕论坛

快速回复 返回顶部 返回列表