找回密码
 立即注册
澳门威尼斯人
U8
U18
海燕招商
A
蓝盾
e世博
islot.
申博亚洲
B
开云
腾博会
德信
C级广告商
吉祥坊
华体会
查看: 225737|回复: 78

[真人] 【实战有奖】今天在九五至尊娱乐城输掉1200多

[复制链接]

3636

主题

7万

回帖

6708

金币

海燕硕士

积分
209834

万时之王老会员勤奋勋章交易勋章

发表于 2024-6-1 10:33 | 显示全部楼层 |阅读模式

马上注册,结交更多好友,享用更多功能,让你轻松玩转社区。

您需要 登录 才可以下载或查看,没有账号?立即注册

×
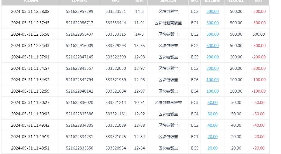
玩这个区块链色子开局玩的还是很不错的,20一注怎么下注都是收米的结果,连红了6局这个时候自信心爆棚了,往往这个时候就是输钱的开始,菠菜想要赢钱真的是不容易做到的 360截图20240601102143571.jpg : c9 o+ _* J! E% u
后面的下注就遇到连黑了,开局还是小注20的玩,输掉几局后面就是200块钱的负追,这个时候已经上头了,输钱总是想要快速赢回来损失,500块钱充值到账就是梭哈,直接一个10连黑打的直接没有脾气了 360截图20240601101459661.jpg
' A' U0 ^% @& u9 v继续充值了500块钱这一把打出来,已经1000块钱了,还想着继续把输掉的赢回来,后面连黑两局本金盈利全部输光光了,今天的下注也就是这样了,总体输掉1200多,已经瘫痪了本金没有了,看来又要休息一段时间了,刚玩了两天还没有赢钱就休息了,也是没办法了 360截图20240601101426938.jpg 360截图20240601101450530.jpg ; a7 W- C1 C- n( f' i% Q

5 L5 B- c( I; W7 h* k( Y* S5 @- S5 I& n4 G9 Q: I& M6 A
& h- M& i7 M5 K) p- @
回复

使用道具 举报

头像被屏蔽

102

主题

9137

回帖

2659

金币

禁止发言

积分
23011

老会员美女勋章

发表于 2024-6-1 10:43 | 显示全部楼层
提示: 作者被禁止或删除 内容自动屏蔽
回复 支持 反对

使用道具 举报

1387

主题

5万

回帖

9981

金币

钻石用户

积分
158161

万时之王老会员勤奋勋章交易勋章

发表于 2024-6-1 10:59 | 显示全部楼层
输了1000多大洋 也是很多了 期待你下次努力搞回来吧
回复 支持 反对

使用道具 举报

14

主题

1万

回帖

3999

金币

金牌会员

积分
31166

老会员

发表于 2024-6-1 11:22 | 显示全部楼层
如果总是在输钱就不要玩了,还是需要自己悠着点的。
回复 支持 反对

使用道具 举报

112

主题

7822

回帖

2191

金币

银牌会员

积分
19453

老会员

发表于 2024-6-1 11:23 | 显示全部楼层
我是服你的,均注500一手打,很厉害的样子。只能自己黯然神伤了
回复 支持 反对

使用道具 举报

162

主题

1万

回帖

242

金币

金牌会员

积分
21624

老会员交易勋章魅力达人

发表于 2024-6-1 12:07 来自手机 | 显示全部楼层
尔不耳不斤 发表于 2024-6-1 10:43' A# z; m8 G$ p5 t
楼主搞这么大亏损一千二还是要休息缓一下,修正心情了

  E, o# Z/ a6 z1 i% U6 S" Q: z, T按照我的叠加负追法,第11手投1200就平了。闊是:
回复 支持 反对

使用道具 举报

162

主题

1万

回帖

242

金币

金牌会员

积分
21624

老会员交易勋章魅力达人

发表于 2024-6-1 12:08 来自手机 | 显示全部楼层
allin 发表于 2024-6-1 10:59
! \0 v: _" u8 F4 @3 o+ g5 }+ p6 h输了1000多大洋 也是很多了 期待你下次努力搞回来吧

3 o/ _' E. P5 E$ e这样的亏损也是能接受的画面,还是带着计算器上场比较美妙。
回复 支持 反对

使用道具 举报

162

主题

1万

回帖

242

金币

金牌会员

积分
21624

老会员交易勋章魅力达人

发表于 2024-6-1 12:09 来自手机 | 显示全部楼层
和XH1278 发表于 2024-6-1 11:22
0 S% W+ O+ `% j+ N0 F2 \# @如果总是在输钱就不要玩了,还是需要自己悠着点的。
5 V# ~1 _+ D" m4 d3 N7 @, v5 e6 J
最近也是对这款游戏着了魔,才一直在搞的
回复 支持 反对

使用道具 举报

162

主题

1万

回帖

242

金币

金牌会员

积分
21624

老会员交易勋章魅力达人

发表于 2024-6-1 12:10 来自手机 | 显示全部楼层
气味儿 发表于 2024-6-1 11:239 \  r/ v; e" u1 V! o& Y
我是服你的,均注500一手打,很厉害的样子。只能自己黯然神伤了
6 Q2 j3 I5 h+ n3 a- U$ z# A% @
您的说法也对,是自己的谁也拿不走,接受现状。
回复 支持 反对

使用道具 举报

3774

主题

8万

回帖

1万

金币

海燕硕士

积分
245258

万时之王老会员精华勋章勤奋勋章

发表于 2024-6-1 12:51 | 显示全部楼层
我是感觉这样的结果也是不太满意好像也是自己没有把握好的
回复 支持 反对

使用道具 举报

3774

主题

8万

回帖

1万

金币

海燕硕士

积分
245258

万时之王老会员精华勋章勤奋勋章

发表于 2024-6-1 12:51 | 显示全部楼层
12358 发表于 2024-6-1 12:10- _1 ?& Z' c2 l) Z" C2 }" v
您的说法也对,是自己的谁也拿不走,接受现状。

( M' ]& W* T+ U2 `% f+ \; @4 z  p只要自己能够勇于接受这样的情况,就没有什么太大的问题。
回复 支持 反对

使用道具 举报

3774

主题

8万

回帖

1万

金币

海燕硕士

积分
245258

万时之王老会员精华勋章勤奋勋章

发表于 2024-6-1 12:51 | 显示全部楼层
12358 发表于 2024-6-1 12:08, d6 E/ I" |6 k" x+ {$ A
这样的亏损也是能接受的画面,还是带着计算器上场比较美妙。

8 W" w# ^6 n' ~/ N2 B3 \/ x0 o遇到亏损的时候,最好的办法就是不要再玩儿了,先修整一下。
回复 支持 反对

使用道具 举报

3774

主题

8万

回帖

1万

金币

海燕硕士

积分
245258

万时之王老会员精华勋章勤奋勋章

发表于 2024-6-1 12:52 | 显示全部楼层
气味儿 发表于 2024-6-1 11:23% ^& v, h3 b! n$ [0 I/ O4 p
我是服你的,均注500一手打,很厉害的样子。只能自己黯然神伤了
- P, w7 b! F% i! l# u3 P5 v7 }& Y# q/ k2 O
能够玩的这么大,确实在论坛里也没有几个人比得了。
回复 支持 反对

使用道具 举报

1503

主题

7万

回帖

1万

金币

海燕硕士

积分
234354

万时之王老会员精华勋章勤奋勋章交易勋章光影行者

发表于 2024-6-1 13:26 | 显示全部楼层
楼主这一次感觉输的有点多了啊,还是要安慰一下的,希望尽快想办法赢回来吧
回复 支持 反对

使用道具 举报

1503

主题

7万

回帖

1万

金币

海燕硕士

积分
234354

万时之王老会员精华勋章勤奋勋章交易勋章光影行者

发表于 2024-6-1 13:27 | 显示全部楼层
尔不耳不斤 发表于 2024-6-1 10:43
8 G' m* P7 k$ s% {) [楼主搞这么大亏损一千二还是要休息缓一下,修正心情了
5 @8 R2 h9 R0 v7 q# F8 l! |
这个时候还是要选择休息一下的,等到调整好自己的状态再和庄家战斗
回复 支持 反对

使用道具 举报

您需要登录后才可以回帖 登录 | 立即注册

本版积分规则

广告合作|评测有奖|福利汇|论坛简介|钱包合集|手机版|小黑屋|Archiver|海燕论坛

快速回复 返回顶部 返回列表